Mục tiêu của vật lí là
Dạng bài: A. Tìm quy luật về sự chuyển động của các hành tinh. B. Khám phá sự vận động của con người. C. Tìm quy luật chi phối sự vận động của vật chất và năng lượng. D. Tìm ra cấu tạo của các nguyên tử, phân tử. Hướng dẫn chi tiết.
Mục tiêu của vật lí là
A. Tìm quy luật về sự chuyển động của các hành tinh.
B. Khám phá sự vận động của con người.
C. Tìm quy luật chi phối sự vận động của vật chất và năng lượng.
D. Tìm ra cấu tạo của các nguyên tử, phân tử.
Các câu hỏi liên quan
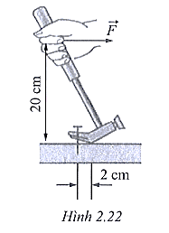
Một người dùng búa để nhổ đỉnh như hình 2.22. Biểu diễn các lực tác dụng lên búa. Chỉ ra điểm tựa mà búa có thể quay xung quanh điểm đó khi nhổ đinh.
- Tự luận
- Độ khó: 0
- Video
Một người dùng búa để nhổ đỉnh như hình 2.22.

a) Biểu diễn các lực tác dụng lên búa.
b) Chỉ ra điểm tựa mà búa có thể quay xung quanh điểm đó khi nhổ đinh.
c) Biết lực cản của gỗ lên đỉnh là 1 000 N.
d) Xác định độ lớn tối thiểu của lực mà người đó cần tác dụng để nhổ được đinh.
Ô tô đang chuyển động với vận tốc không đổi khi trục truyền động của ô tô tác dụng mômen lực 200 Nm lên bánh xe. Mô tả tác dụng của mômen lực này đối với bánh xe và đối với cả xe.
- Tự luận
- Độ khó: 0
- Video
Ô tô đang chuyển động với vận tốc không đổi khi trục truyền động của ô tô tác dụng mômen lực 200 Nm lên bánh xe (hình 2.23). Bán kính của bánh xe là 0,18 m.

a) Mô tả tác dụng của mômen lực này đối với bánh xe và đối với cả xe.
b) Xác định độ lớn thành phần lực theo phương ngang mà bánh xe tác dụng lên mặt đường.
Hình 2.24 cho thấy một bức tranh được treo bằng dây vào một chiếc đinh cố định trên tường. Hãy tính thành phần theo phương thẳng đứng của mỗi lực căng dây.
- Tự luận
- Độ khó: 0
- Video
Hình 2.24 cho thấy một bức tranh được treo bằng dây vào một chiếc đinh cố định trên tường. Bức tranh ở trạng thái cân bằng.

a) Biểu diễn ba vectơ lực tác dụng lên bức tranh.
b) Lực căng của dây là 45 N. Hãy tính thành phần theo phương thẳng đứng của mỗi lực căng dây và trọng lượng của bức tranh.
Một cuốn sách khối lượng 1,5 kg nằm yên mặt phẳng nghiêng 20 độ so với phương ngang. Vẽ giản đồ vectơ lực tác dụng lên sách. Tính thành phần của trọng lực có tác dụng kéo cuốn sách trượt xuống dốc.
- Tự luận
- Độ khó: 0
- Video
Một cuốn sách khối lượng 1,5 kg nằm yên trên mặt phẳng nghiêng 20° so với phương ngang (Hình 2.25).

a) Vẽ giản đồ vectơ lực tác dụng lên sách. Coi các lực đặt vào trọng tâm cuốn sách.
b) Tính thành phần của trọng lực có tác dụng kéo cuốn sách trượt xuống dốc. Lấy g = 9,81 m/.
c) Xác định độ lớn lực ma sát tác dụng lên cuốn sách.
d) Xác định thành phần pháp tuyến của lực tiếp xúc giữa sách và bề mặt mặt phẳng nghiêng.
Một cân đòn sử dụng khối lượng trượt 100 g để cân vật M. Cân đạt được sự cần bằng khi hệ vật nằm ở vị trí như hình 2.26. Xác định khối lượng của vật M.
- Tự luận
- Độ khó: 0
- Video
Một cân đòn sử dụng khối lượng trượt 100 g để cân vật M. Cân đạt được sự cân bằng khi hệ vật nằm ở vị trí như hình 2.26. Xác định khối lượng của vật M được cân trong trường hợp này.
