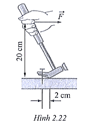
Một người dùng búa để nhổ đỉnh như hình 2.22. Biểu diễn các lực tác dụng lên búa. Chỉ ra điểm tựa mà búa có thể quay xung quanh điểm đó khi nhổ đinh.
Dạng bài: Vật lý 10. Một người dùng búa để nhổ đỉnh như hình 2.22. Biểu diễn các lực tác dụng lên búa. Chỉ ra điểm tựa mà búa có thể quay xung quanh điểm đó khi nhổ đinh. Hướng dẫn chi tiết.
Một người dùng búa để nhổ đỉnh như hình 2.22.

a) Biểu diễn các lực tác dụng lên búa.
b) Chỉ ra điểm tựa mà búa có thể quay xung quanh điểm đó khi nhổ đinh.
c) Biết lực cản của gỗ lên đỉnh là 1 000 N.
d) Xác định độ lớn tối thiểu của lực mà người đó cần tác dụng để nhổ được đinh.
Công thức liên quan
Momen lực
Vật lý 10. Công thức xác định momen lực. Hướng dẫn chi tiết.
Định nghĩa:
Momen lực đối với một trục quay là đại lượng đặc trưng cho tác dụng làm quay của lực và được đo bằng tích của lực và được đo bằng tích của lực với cánh tay đòn của nó.
Chú thích:
là momen lực
là lực tác dụng
là cánh tay đòn - là đoạn thẳng vuông góc nối từ trục quay đến giá của lực

Minh họa về cách xác định momen lực
Càng đi ra xa trục quay (cánh tay đòn càng tăng) thì khối lượng được phép cẩu lên phải giảm
để tránh tăng momen gây tai nạn lao động.
Điều kiện cân bằng của một vật có trục quay cố định.
Vật lý 10. Điều kiện cân bằng của một vật có trục quay cố định. Hướng dẫn chi tiết.
Điều kiện cân bằng:
Muốn cho một vật có trục quay cố định ở trạng thái cân bằng, thì tổng các moment lực có xu hướng làm vật quay theo chiều kim đồng hồ phải cân bằng với tổng các moment lực có xu hướng làm vật quay ngược chiều kim đồng hồ.
Chú thích:
: tổng moment làm vật quay xuôi chiều kim đồng hồ .
: tổng moment làm vật quay ngược chiều kim đồng hồ .

Biến số liên quan
Lực - Vật lý 10
Vật lý 10. Lực là gì? Hướng dẫn chi tiết.
Khái niệm:
Lực là đại lượng véc tơ đặc trưng cho tác dụng của vật này lên vật khác mà kết quả là gây ra gia tốc cho vật hoặc làm cho vật biến dạng.
Đơn vị tính: Newton

Khoảng cách từ lực đến điểm đang xét - Vật lý 10
d
Vật lý 10. Khoảng cách từ lực đến điểm đang xét. Hướng dẫn chi tiết.
Khái niệm:
d là khoảng cách từ điểm đang xét đến giá của lực.
Đơn vị tính: mét (m)

Momen lực - Vật lý 10
M
Vật lý 10. Momen lực hướng dẫn chi tiết.
Khái niệm:
Momen lực đối với một trục quay là đại lượng đặc trưng cho tác dụng làm quay của lực và được đo bằng tích của lực với cánh tay đòn của nó.
Đơn vị tính: N.m

Các câu hỏi liên quan
Quá trình biến đổi từ trạng thái 1 đến trạng thái 2 là quá trình nào?
- Trắc nghiệm
- Độ khó: 1
Một lượng khí lí tưởng biến đổi trạng thái theo đồ thị như hình vẽ quá trình biến đổi từ trạng thái 1 đến trạng thái 2 là quá trình:

Cho đồ thị hai đường đẳng áp của cùng một khối khí xác định như hình vẽ.
- Trắc nghiệm
- Độ khó: 2
Cho đồ thị hai đường đẳng áp của cùng một khối khí xác định như hình vẽ, so sánh giá trị của hai đường đẳng áp này.

Khi làm nóng hay nguội bình cầu thì biến đổi của khối khí thuộc loại nào?
- Trắc nghiệm
- Độ khó: 1
Một thí nghiệm được thực hiện với khối không khí chứa trong bình cầu và ngăn với khí quyển bằng giọt thủy ngân như hình vẽ. Khi làm nóng hay nguội bình cầu thì biến đổi của khối khí thuộc loại nào?

Phương trình nào sau đây là phương trình Clapeyron - Mendeleev?
- Trắc nghiệm
- Độ khó: 1
Phương trình nào sau đây là phương trình Clapeyron - Mendeleev?
Biểu thức khối lượng riêng của khí trên ở nhiệt độ T2 áp suất P2 là?
- Trắc nghiệm
- Độ khó: 2
Ở nhiệt độ T1, áp suất P1, khối lượng riêng của khí là D1. Biểu thức khối lượng riêng của khí trên ở nhiệt độ T2 áp suất P2 là?